共计 1659 个字符,预计需要花费 5 分钟才能阅读完成。
中国人民银行决定自 2017 年 7 月 31 日起陆续发行中国人民解放军建军 90 周年纪念币一套。
双色铜合金纪念币,正面图案为中华人民共和国国徽,并刊国名、年号。背面图案由飘带、橄榄枝、军徽以及“1927-2017”组成,并蕴含“90”字样。主景图案上方刊“中国人民解放军建军 90 周年”字样,下方为面额“10 元”和长城图案。
双色铜合金纪念币面额 10 元,直径为 27 毫米,材质为双色铜合金,发行数量为 2.5 亿枚。
双色铜合金纪念币采取预约方式分两批发行:第一批自 2017 年 9 月 22 日起办理预约兑换,第二批自 2017 年 11 月 21 日起办理预约兑换。
该套纪念币共 10 枚,其中金质纪念币 2 枚,银质纪念币 7 枚,双色铜合金纪念币 1 枚,均为中华人民共和国法定货币。
双 色铜纪念币 2017 年 8 月 25 日 0 点开放第一批预约,25 日凌晨,30 分钟广州深圳工商银行已经被预约一空,随后工商银行上海支行也告罄,可见市场和大众对建军 90 周年纪念币热情很高。没有预约到的小伙伴赶快抓紧线下的预约机会,线下目前还有少量未被预约。
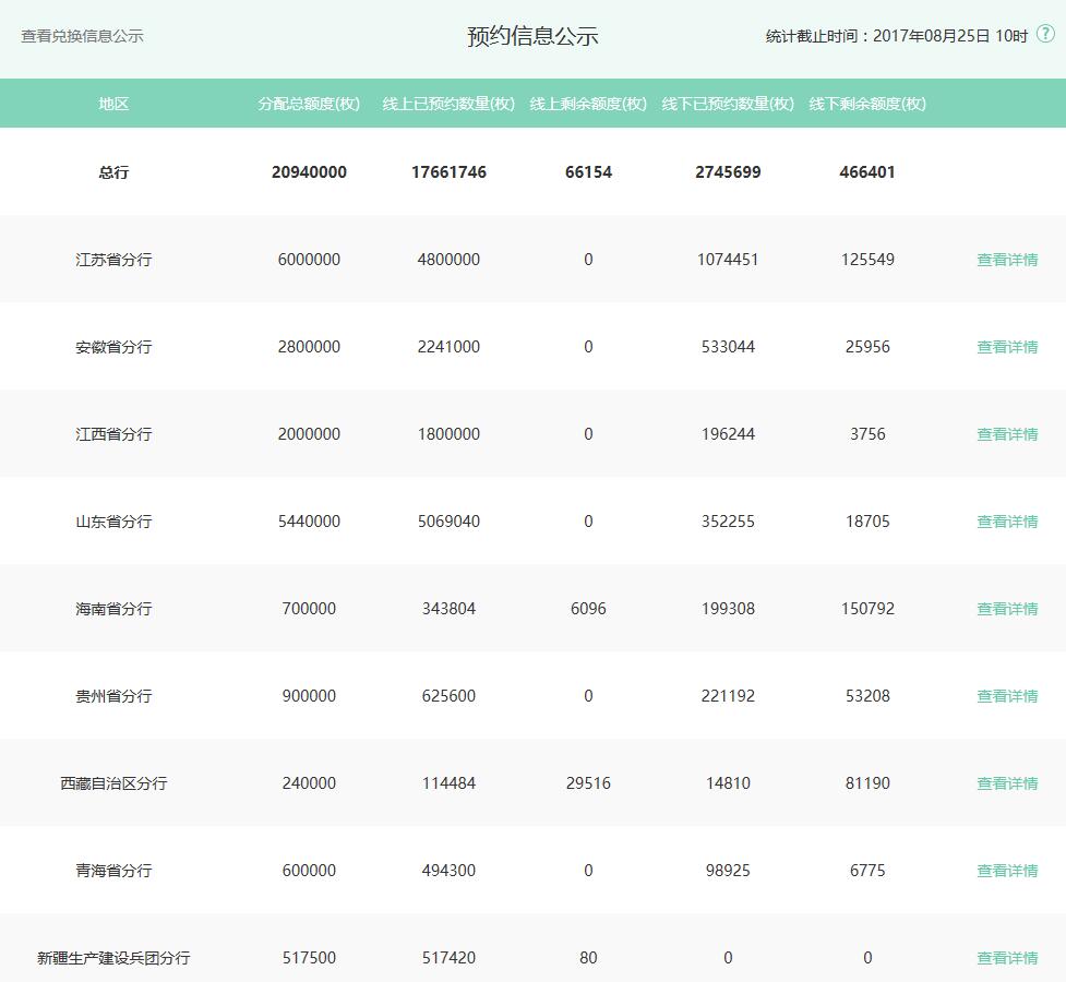
工行额度 31060000
截至 25 日 1 时中国工商银行除四川各分行均被预约一空 .
25 日凌晨 2 点,建设银行预约数据统计
中国农业银行除新疆西藏分行也均被预约告罄
中国人民解放军建军 90 周年双色铜合金纪念币分配数量
|
地区 |
分配数量(万枚) |
||
|
第一批 |
第二批 |
合计 |
|
|
北京市 |
600 |
900 |
1500 |
|
天津市 |
200 |
300 |
500 |
|
河北省 |
600 |
600 |
1200 |
|
山西省 |
400 |
560 |
960 |
|
内蒙古自治区 |
300 |
390 |
690 |
|
辽宁省 |
696 |
793 |
1489 |
|
吉林省 |
470 |
480 |
950 |
|
黑龙江省 |
540 |
530 |
1070 |
|
上海市 |
600 |
900 |
1500 |
|
江苏省 |
600 |
1050 |
1650 |
|
浙江省 |
600 |
600 |
1200 |
|
安徽省 |
280 |
400 |
680 |
|
福建省 |
220 |
350 |
570 |
|
江西省 |
200 |
290 |
490 |
|
山东省 |
600 |
1100 |
1700 |
|
河南省 |
380 |
540 |
920 |
|
湖北省 |
280 |
420 |
700 |
|
湖南省 |
200 |
320 |
520 |
|
广东省注 1 |
600 |
1600 |
2200 |
|
深圳市 |
80 |
120 |
200 |
|
广西壮族自治区 |
180 |
270 |
450 |
|
海南省 |
70 |
100 |
170 |
|
四川省 |
360 |
490 |
850 |
|
贵州省 |
90 |
120 |
210 |
|
云南省 |
130 |
190 |
320 |
|
西藏自治区 |
24 |
36 |
60 |
|
重庆市 |
100 |
160 |
260 |
|
陕西省 |
200 |
300 |
500 |
|
甘肃省 |
80 |
180 |
260 |
|
青海省 |
60 |
90 |
150 |
|
宁夏回族自治区 |
90 |
210 |
300 |
|
新疆维吾尔自治区 |
170 |
280 |
450 |
|
留存历史货币档案注 2 |
0 |
1 |
1 |
|
装帧销售 |
0 |
330 |
330 |
|
合计 |
10000 |
15000 |
25000 |
注:
1. 表中广东省数量不包含深圳市的数量。
2. 中国人民银行在每次发行新币时,均在发行库中留存一定数量,作为实物档案,供未来货币研究使用,这部分货币归为留存历史货币档案。
3. 中国人民银行可能根据各地预约情况对各省、自治区、直辖市的分配数量进行调整,调整结果将另行公布。
中国人民解放军建军 90 周年双色铜合金纪念币发行工作安排
一、中国工商银行、中国农业银行、中国银行和中国建设银行分别承担中国人民解放军建军 90 周年双色铜合金纪念币(以下简称建军币)在部分省、自治区、直辖市的预约发行工作。中国工商银行负责上海、内蒙古、辽宁、吉林、广东(含深圳市)、四川等地区;中国农业银行负责江苏、安徽、江西、山东、海南、贵州、西藏、青海、新疆等地区;中国银行负责天津、山西、福建、湖北、湖南、广西、重庆、陕西等地区;中国建设银行负责北京、河北、黑龙江、浙江、河南、云南、甘肃、宁夏等地区。
二、2017 年 8 月 24 日前中国人民银行分支机构向社会公告当地建军币的分配数量。
中国工商银行、中国农业银行、中国银行和中国建设银行在官方网站公布建军币预约兑换网点和每个网点的可预约数量。
三、中国工商银行、中国农业银行、中国银行和中国建设银行于 2017 年 8 月 25 日至 8 月 31 日办理第一批建军币预约,于 2017 年 11 月 13 日至 11 月 20 日办理第二批建军币预约。公众可通过上述四家商业银行官方网站或前往其营业网点进行预约登记。
四、建军币每人预约、兑换限额为 40 枚。
五、建军币预约、兑换的有效身份证件限于第二代居民身份证、军人身份证件、武警身份证件。